一、CQ型磁力驅動泵產品概述:
CQ型磁力驅動泵(簡稱磁力泵),CQG型耐高溫磁力驅動泵(耐溫≤250℃)(簡稱磁力泵)是將永磁聯軸器的工作原理應用于離心泵的新產品,主要材料有不銹鋼、增強聚丙稀,工程塑料。設計合理、工藝先進,具有全密封、無泄漏、耐腐蝕的特點,其性能達到國外同類產品的先進水平。
磁力泵以靜密封取代動密封,使泵的過流部件處于完全密封狀態,徹底解決了其他泵機械密封無法避免的跑、冒、滴之弊病。磁力泵選用耐腐蝕、高強度的工程塑料、鋼玉陶瓷、不銹鋼等作為制造材料,因此它具有良好的抗腐蝕性能,并可以使被輸送介質免受污染。
二、CQ型磁力驅動泵型號意義:

三、CQ型磁力驅動泵使用范圍:
磁力泵結構緊湊、外形美觀、體積小、噪音低、運行可靠、使用縱方便。可廣泛應用于化工、制藥、石油、電鍍、食品、電影照相洗印、科研機構、國防工業等單位抽送酸、堿液、油類、稀有貴重液、毒液、揮發性液體,以及循環水設備配套、過濾機配套。特別是易漏、易燃、易爆液體物抽送,選用此泵則更為理想。
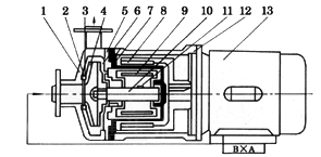
四、CQ型磁力驅動泵結構說明:

| 1 | 泵 殼 | 2 | 靜 環 | 3 | 動 環 |
| 4 | 葉 輪 | 5 | 密封圈 | 6 | 隔 板 |
| 7 | 隔離套 | 8 | 外磁鋼總成 | 9 | 內磁鋼總成 |
| 10 | 泵 軸 | 11 | 軸 套 | 12 | 聯接架 |
| 13 | 電 機 |
五、CQ型磁力驅動泵性能參數:
| 型號 | 口徑 | 揚程 (m) |
流量 | 電機功率 (KW) |
轉速 (r/min) |
電壓 (V) |
吸程 (m) |
||
| 進口 (mm) |
出口(mm) | (L/min) |
(m3/h)
|
||||||
| 10CQ-3 | 10 | 8 | 3 | 19 | 1.14 | 0.025 | 2850 | 220 | 2.5 |
| 14CQ-5 | 14 | 10 | 5 | 20 | 1.2 | 0.12 | 2900 | 380/220 | 3 |
| 16CQ-8 | 16 | 12 | 8 | 25 | 1.5 | 0.18 | 〃 | 380/220 | 3 |
| 20CQ-12 | 20 | 14 | 12 | 50 | 3 | 0.37 | 〃 | 380/220 | 4 |
| 25CQ-15 | 25 | 20 | 15 | 110 | 6.6 | 1.1 | 〃 | 380 | 4 |
| 32CQ-15 | 32 | 25 | 15 | 110 | 6.6 | 1.1 | 〃 | 〃 | 4 |
| 32CQ-25 | 32 | 25 | 25 | 110 | 6.6 | 1.1 | 〃 | 〃 | 4 |
| 40CQ-20 | 40 | 32 | 20 | 180 | 10.8 | 2.2 | 〃 | 〃 | 6 |
| 50CQ-25 | 50 | 40 | 25 | 240 | 14.4 | 4 | 〃 | 〃 | 6 |
| 50CQ-40 | 50 | 40 | 40 | 220 | 13.2 | 4 | 〃 | 〃 | 6 |
| 50CQ-50 | 50 | 40 | 50 | 130 | 7.8 | 5.5 | 〃 | 〃 | 6 |
| 65CQ-25 | 65 | 50 | 25 | 280 | 16.8 | 5.5 | 〃 | 〃 | 6 |
| 65CQ-35 | 65 | 50 | 35 | 450 | 27 | 7.5 | 〃 | 〃 | 6 |
| 80CQ-35 | 80 | 65 | 35 | 850 | 51 | 11 | 〃 | 〃 | 6 |
| 80CQ-50 | 80 | 65 | 50 | 850 | 51 | 15 | 〃 | 〃 | 6 |
公司電話:400-999-0822
公司傳真:0317-8309525
企業QQ:1553179303
公司地址:河北省泊頭市付莊開發區